专利数据库
统计分析
产业报告
专利数据监控
产业人才
行业动态
产业政策法规
维权援助
个人中心
详情
文本
图像
标题
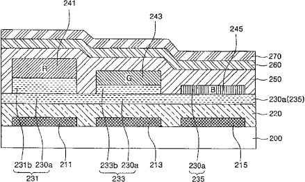
制备有机发光显示器的方法
授权日
2010-05-05
公开(公告)号
CN1658718B
申请日
2004-12-31
公开(公告)日
2010-05-05
当前申请(专利权)人
三星显示有限公司
发明人
金茂显 | 陈炳斗 | 李城宅
简单同族
CN1658718A | CN1658718B | JP2005235742A | KR100635056B1 | KR1020050082652A | US20050196893A1 | US8338222
简单同族成员数量
7
简单同族被引用专利总数
95
诉讼案件数
0
法律状态/事件
授权 | 权利转移
抱歉,您的浏览器不支持PDF预览,请点击链接下载PDF文件