专利数据库
统计分析
产业报告
专利数据监控
产业人才
行业动态
产业政策法规
维权援助
个人中心
详情
文本
图像
标题
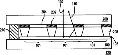
电致发光显示面板
授权日
1900-01-01
公开(公告)号
CN1992329A
申请日
2006-05-08
公开(公告)日
2007-07-04
当前申请(专利权)人
统宝光电股份有限公司
发明人
陈光荣
简单同族
CN1992329A | US20070145892A1
简单同族成员数量
2
简单同族被引用专利总数
50
诉讼案件数
0
法律状态/事件
撤回
抱歉,您的浏览器不支持PDF预览,请点击链接下载PDF文件