专利数据库
统计分析
产业报告
专利数据监控
产业人才
行业动态
产业政策法规
维权援助
个人中心
详情
文本
图像
标题
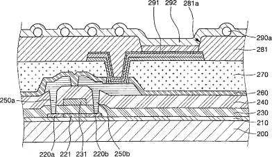
有机发光二极管显示装置和制造该装置的方法
授权日
1900-01-01
公开(公告)号
CN101217185A
申请日
2008-01-04
公开(公告)日
2008-07-09
当前申请(专利权)人
三星显示有限公司
发明人
权正铉
简单同族
CN101217185A | CN101217185B | EP1942526A2 | EP1942526A3 | JP2008166258A | JP5026221B2 | KR100796618B1 | TW200830547A | TWI371855B | US20080180024A1 | US7834547
简单同族成员数量
11
简单同族被引用专利总数
46
诉讼案件数
0
法律状态/事件
授权 | 权利转移
抱歉,您的浏览器不支持PDF预览,请点击链接下载PDF文件