专利数据库
统计分析
产业报告
专利数据监控
产业人才
行业动态
产业政策法规
维权援助
个人中心
详情
文本
图像
标题
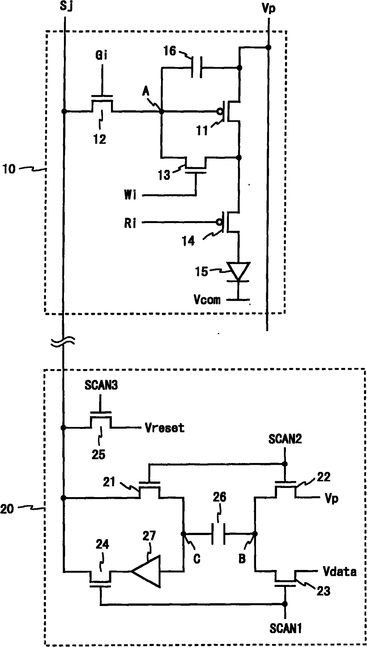
显示装置及其驱动方法
授权日
2011-11-30
公开(公告)号
CN101578648B
申请日
2007-10-01
公开(公告)日
2011-11-30
当前申请(专利权)人
夏普株式会社
发明人
岸宣孝
简单同族
CN101578648A | CN101578648B | CN102097055A | EP2093748A1 | EP2093748A4 | EP2093748B1 | EP2369571A1 | EP2369571B1 | JP5171807B2 | JPWO2008108024A1 | US20100045646A1 | US8847939 | WO2008108024A1
简单同族成员数量
13
简单同族被引用专利总数
156
诉讼案件数
0
法律状态/事件
授权
抱歉,您的浏览器不支持PDF预览,请点击链接下载PDF文件