专利数据库
统计分析
产业报告
专利数据监控
产业人才
行业动态
产业政策法规
维权援助
个人中心
详情
文本
图像
标题
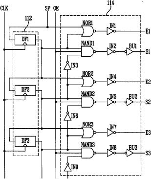
扫描驱动器和有机发光显示器及其驱动方法
授权日
1900-01-01
公开(公告)号
CN1794331A
申请日
2005-12-23
公开(公告)日
2006-06-28
当前申请(专利权)人
三星显示有限公司
发明人
崔相武
简单同族
CN100585685C | CN1794331A | JP2006184871A | JP4633601B2 | KR100624317B1 | KR1020060073680A | US20060158394A1 | US8035581
简单同族成员数量
8
简单同族被引用专利总数
84
诉讼案件数
0
法律状态/事件
授权 | 权利转移
抱歉,您的浏览器不支持PDF预览,请点击链接下载PDF文件