专利数据库
统计分析
产业报告
专利数据监控
产业人才
行业动态
产业政策法规
维权援助
个人中心
详情
文本
图像
标题
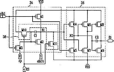
发射驱动器和利用所述发射驱动器的有机发光显示器
授权日
1900-01-01
公开(公告)号
CN101527110A
申请日
2009-03-03
公开(公告)日
2009-09-09
当前申请(专利权)人
三星显示有限公司
发明人
郑先伊 | 金美海 | 严基明 | 郑镇泰
简单同族
CN101527110A | CN101527110B | EP2099018A1 | EP2099018B1 | JP2009211028A | JP4887334B2 | KR100911982B1 | US20090225068A1 | US8339424
简单同族成员数量
9
简单同族被引用专利总数
64
诉讼案件数
0
法律状态/事件
授权 | 权利转移
抱歉,您的浏览器不支持PDF预览,请点击链接下载PDF文件