专利数据库
统计分析
产业报告
专利数据监控
产业人才
行业动态
产业政策法规
维权援助
个人中心
详情
文本
图像
标题
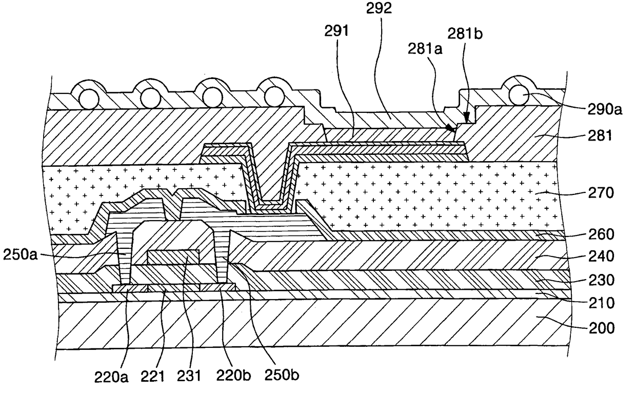
有机发光二极管显示装置及其制造方法
授权日
2011-05-04
公开(公告)号
CN101556991B
申请日
2009-01-22
公开(公告)日
2011-05-04
当前申请(专利权)人
三星显示有限公司
发明人
权正铉
简单同族
CN101556991A | CN101556991B | EP2086007A1 | EP2086007B1 | JP2009182320A | KR100924137B1 | KR1020090084202A | US20090194780A1 | US8039839
简单同族成员数量
9
简单同族被引用专利总数
64
诉讼案件数
0
法律状态/事件
授权 | 权利转移
抱歉,您的浏览器不支持PDF预览,请点击链接下载PDF文件