专利数据库
统计分析
产业报告
专利数据监控
产业人才
行业动态
产业政策法规
维权援助
个人中心
详情
文本
图像
标题
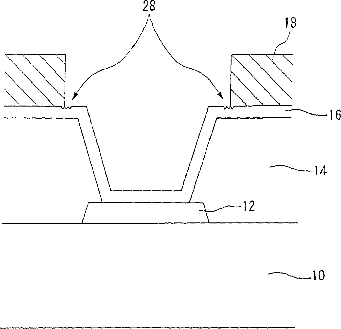
有机电致发光屏、有机电致发光器件、和掩膜的制造方法
授权日
1900-01-01
公开(公告)号
CN1443026A
申请日
2003-03-05
公开(公告)日
2003-09-17
当前申请(专利权)人
三洋电机株式会社
发明人
西尾佳高 | 松本寬
简单同族
CN1443026A | JP2003257650A | JP3481232B2 | KR1020030074227A | US20030189400A1 | US20070015430A1
简单同族成员数量
6
简单同族被引用专利总数
120
诉讼案件数
0
法律状态/事件
撤回
抱歉,您的浏览器不支持PDF预览,请点击链接下载PDF文件