专利数据库
统计分析
产业报告
专利数据监控
产业人才
行业动态
产业政策法规
维权援助
个人中心
详情
文本
图像
标题
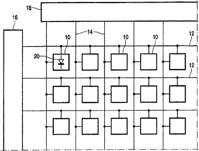
彩色电致发光显示装置
授权日
2008-09-03
公开(公告)号
CN100416642C
申请日
2004-06-04
公开(公告)日
2008-09-03
当前申请(专利权)人
皇家飞利浦电子股份有限公司
发明人
N·D·杨
简单同族
CN100416642C | CN1802683A | EP1636779A1 | GB0313460D0 | JP2006527406A | KR1020060027326A | TW200511167A | US20060273998A1 | US7242145 | WO2004109641A1
简单同族成员数量
10
简单同族被引用专利总数
47
诉讼案件数
0
法律状态/事件
未缴年费
抱歉,您的浏览器不支持PDF预览,请点击链接下载PDF文件