专利数据库
统计分析
产业报告
专利数据监控
产业人才
行业动态
产业政策法规
维权援助
个人中心
详情
文本
图像
标题
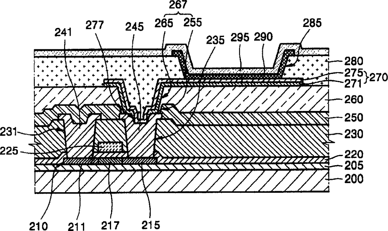
具有改进的通孔的有机发光显示器
授权日
2011-12-21
公开(公告)号
CN1717132B
申请日
2005-06-30
公开(公告)日
2011-12-21
当前申请(专利权)人
三星显示有限公司
发明人
朴汶熙 | 徐昌秀 | 姜泰旭
简单同族
CN1717132A | CN1717132B | JP2006018225A | JP4113197B2 | KR100683676B1 | KR1020060001373A | US20060006540A1 | US7335912
简单同族成员数量
8
简单同族被引用专利总数
46
诉讼案件数
0
法律状态/事件
授权 | 权利转移
抱歉,您的浏览器不支持PDF预览,请点击链接下载PDF文件