专利数据库
统计分析
产业报告
专利数据监控
产业人才
行业动态
产业政策法规
维权援助
个人中心
详情
文本
图像
标题
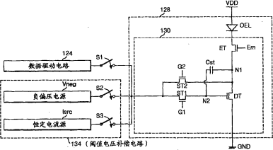
有机发光二极管显示器及其驱动方法
授权日
2009-12-30
公开(公告)号
CN100576303C
申请日
2007-05-25
公开(公告)日
2009-12-30
当前申请(专利权)人
乐金显示有限公司
发明人
柳俊锡
简单同族
CN100576303C | CN101079233A | KR101186254B1 | KR1020070113769A | US20080174574A1 | US7898511
简单同族成员数量
6
简单同族被引用专利总数
66
诉讼案件数
0
法律状态/事件
授权
抱歉,您的浏览器不支持PDF预览,请点击链接下载PDF文件