专利数据库
统计分析
产业报告
专利数据监控
产业人才
行业动态
产业政策法规
维权援助
个人中心
详情
文本
图像
标题
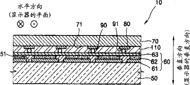
在电致发光显示器件中的导电体设计
授权日
1900-01-01
公开(公告)号
CN1543269A
申请日
2004-02-13
公开(公告)日
2004-11-03
当前申请(专利权)人
三星显示有限公司
发明人
朴镇宇 | 具在本 | 李宽熙
简单同族
CN100468817C | CN1543269A | JP2004281399A | JP4185002B2 | US20040185604A1 | US20060124949A1 | US20060124950A1 | US7026658 | US7214966 | US7214967
简单同族成员数量
10
简单同族被引用专利总数
94
诉讼案件数
0
法律状态/事件
授权 | 权利转移
抱歉,您的浏览器不支持PDF预览,请点击链接下载PDF文件