专利数据库
统计分析
产业报告
专利数据监控
产业人才
行业动态
产业政策法规
维权援助
个人中心
详情
文本
图像
标题
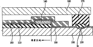
有机电致发光显示器及其制造方法
授权日
2008-12-31
公开(公告)号
CN100448062C
申请日
2004-04-23
公开(公告)日
2008-12-31
当前申请(专利权)人
三星显示有限公司
发明人
姜泰旻 | 宋明原 | 李城宅
简单同族
CN100448062C | CN1575071A | US20040251827A1 | US20060290273A1 | US20060292955A1 | US20090179565A1 | US20090179573A1 | US7247986 | US7387557 | US7521857 | US7915811 | US8558455 | USR47781
简单同族成员数量
13
简单同族被引用专利总数
110
诉讼案件数
0
法律状态/事件
授权 | 权利转移
抱歉,您的浏览器不支持PDF预览,请点击链接下载PDF文件