专利数据库
统计分析
产业报告
专利数据监控
产业人才
行业动态
产业政策法规
维权援助
个人中心
详情
文本
图像
标题
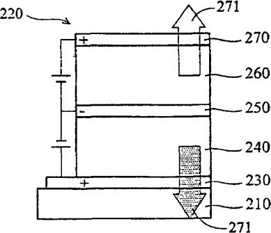
有机发光二极管及包含其的显示面板与通讯装置
授权日
2009-07-22
公开(公告)号
CN100517795C
申请日
2005-04-21
公开(公告)日
2009-07-22
当前申请(专利权)人
友达光电股份有限公司
发明人
陈文焜 | 柯崇文 | 李世昊
简单同族
CN100517795C | CN1670981A | JP2005310782A | TW200536433A | TWI277366B | US20050237279A1 | US7250728
简单同族成员数量
7
简单同族被引用专利总数
69
诉讼案件数
0
法律状态/事件
授权
抱歉,您的浏览器不支持PDF预览,请点击链接下载PDF文件