专利数据库
统计分析
产业报告
专利数据监控
产业人才
行业动态
产业政策法规
维权援助
个人中心
详情
文本
图像
标题
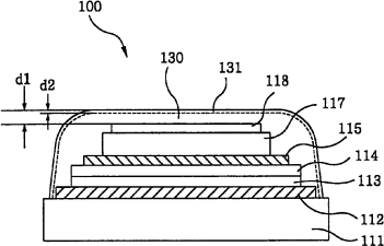
一种有机电致发光显示器的制造方法
授权日
2009-06-10
公开(公告)号
CN100499202C
申请日
2002-06-14
公开(公告)日
2009-06-10
当前申请(专利权)人
株式会社大宇电子服务
发明人
崔道铉 | 崔京姬
简单同族
CN100499202C | CN1516988A | EP1410692A1 | EP1410692A4 | EP1410692B1 | JP2003007454A | JP2003007454A5 | JP4401051B2 | TWI237514B | US20030003225A1 | US6692326 | WO2002104077A1
简单同族成员数量
12
简单同族被引用专利总数
65
诉讼案件数
0
法律状态/事件
未缴年费 | 权利转移
抱歉,您的浏览器不支持PDF预览,请点击链接下载PDF文件