专利数据库
统计分析
产业报告
专利数据监控
产业人才
行业动态
产业政策法规
维权援助
个人中心
详情
文本
图像
标题
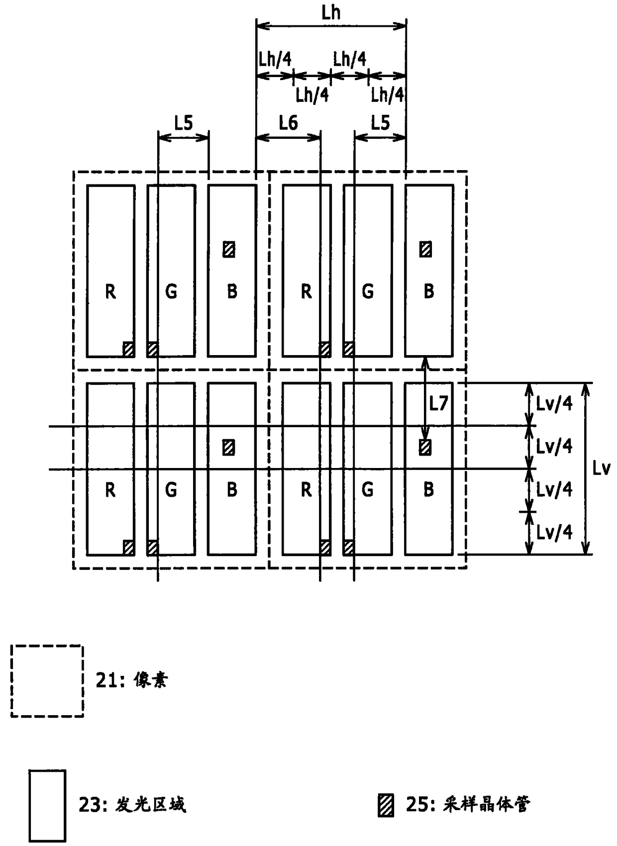
电致发光显示面板以及电子设备
授权日
2012-07-04
公开(公告)号
CN101540336B
申请日
2009-03-23
公开(公告)日
2012-07-04
当前申请(专利权)人
索尼株式会社
发明人
山下淳一 | 山本哲郎 | 内野胜秀
简单同族
CN101540336A | CN101540336B | JP2009229779A | JP4623114B2 | KR101607154B1 | KR1020090101409A | TW200950575A | TWI474752B | US20090262047A1
简单同族成员数量
9
简单同族被引用专利总数
67
诉讼案件数
0
法律状态/事件
授权
抱歉,您的浏览器不支持PDF预览,请点击链接下载PDF文件