专利数据库
统计分析
产业报告
专利数据监控
产业人才
行业动态
产业政策法规
维权援助
个人中心
详情
文本
图像
标题
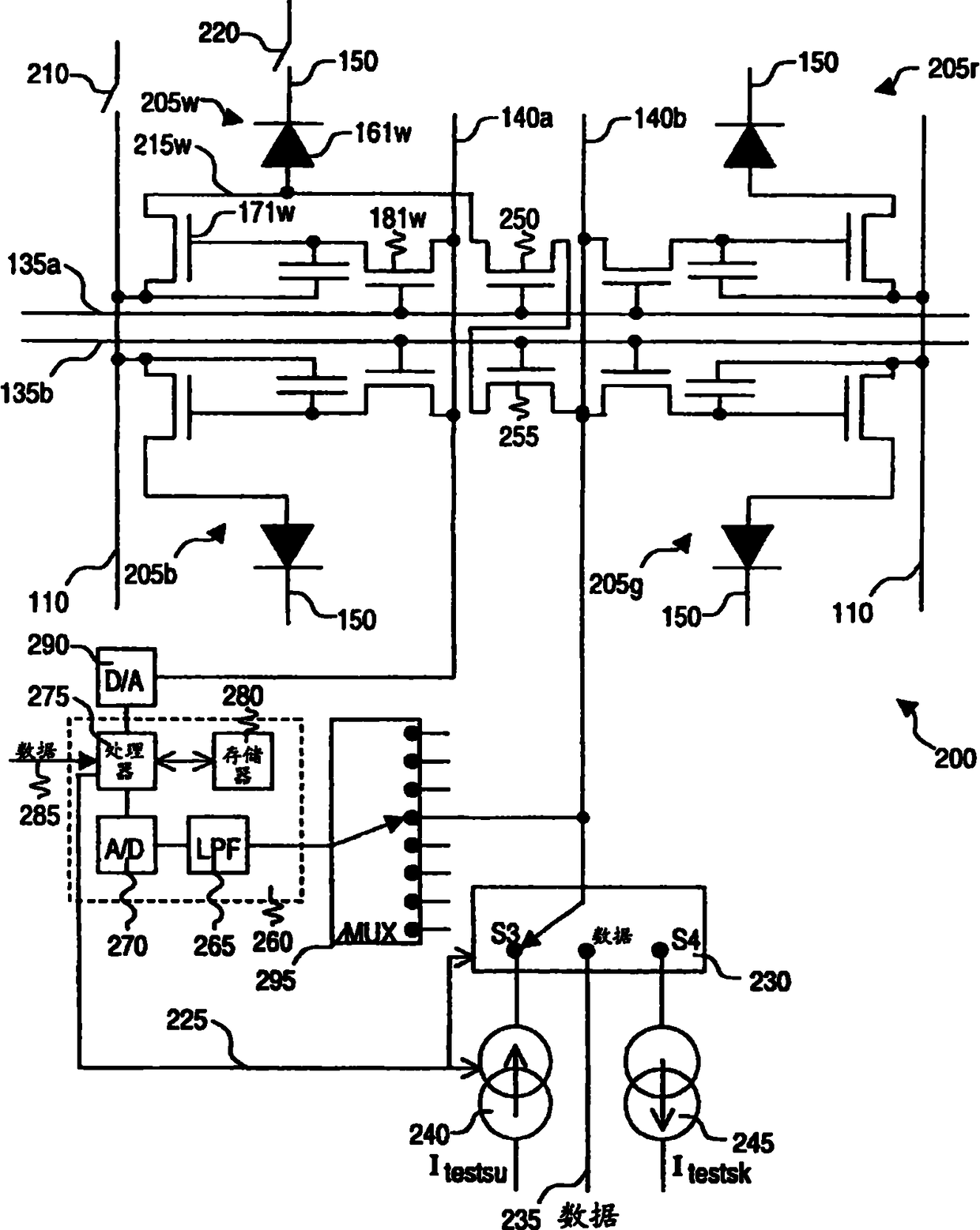
多色电致发光显示器的补偿方案
授权日
1900-01-01
公开(公告)号
CN102047313A
申请日
2009-05-22
公开(公告)日
2011-05-04
当前申请(专利权)人
全球OLED科技有限责任公司
发明人
查尔斯·L·利维 | 达斯廷·温特斯 | 约翰·W·哈默
简单同族
CN102047313A | CN102047313B | EP2294568A1 | JP2011523720A | JP2011523720A5 | JP5485986B2 | KR101245744B1 | KR1020110023867A | US20090295422A1 | US8217867 | WO2009145881A1
简单同族成员数量
11
简单同族被引用专利总数
59
诉讼案件数
0
法律状态/事件
授权
抱歉,您的浏览器不支持PDF预览,请点击链接下载PDF文件