专利数据库
统计分析
产业报告
专利数据监控
产业人才
行业动态
产业政策法规
维权援助
个人中心
详情
文本
图像
标题
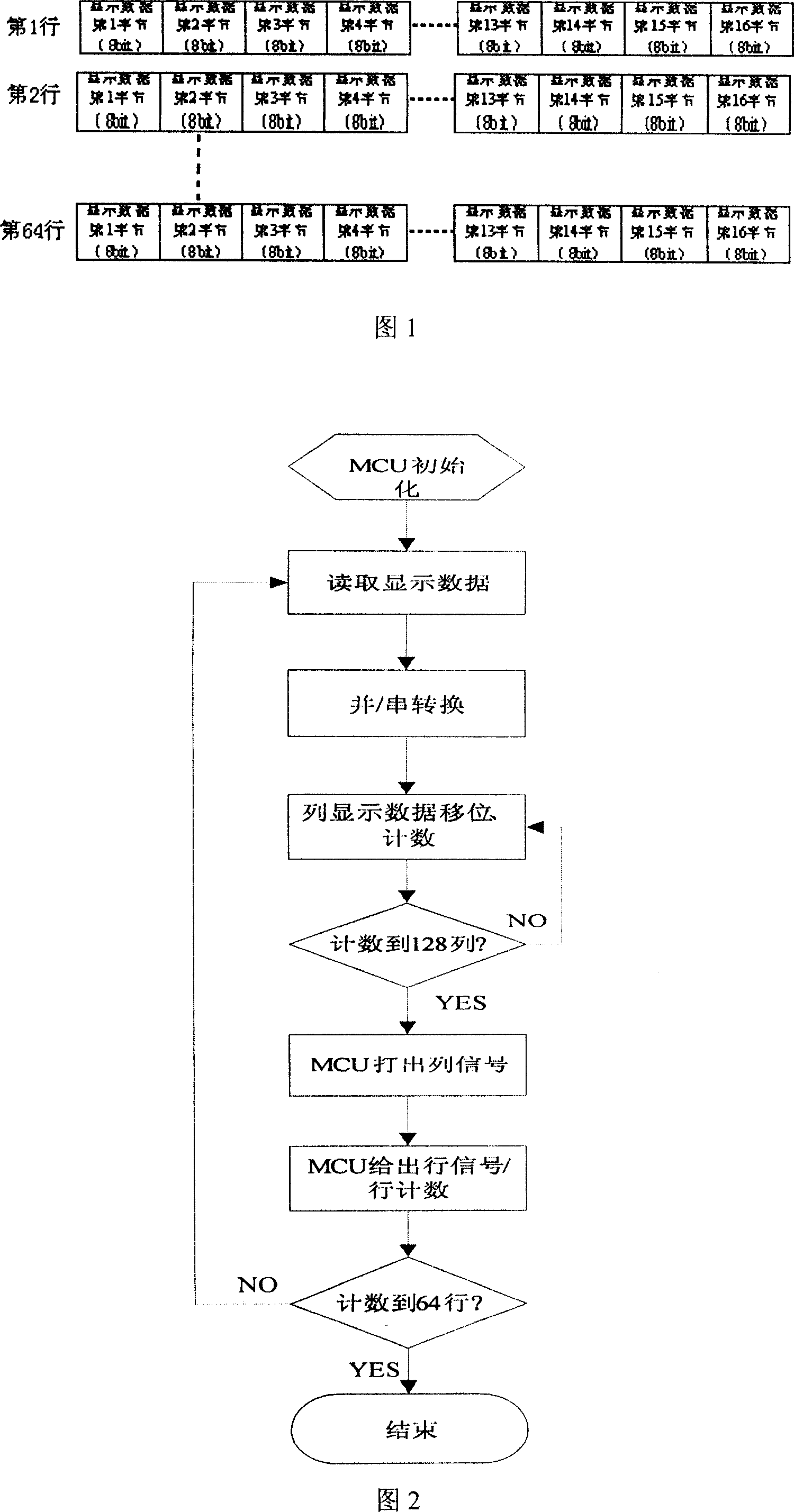
一种有机电致发光显示器的显示控制方法和控制电路
授权日
1900-01-01
公开(公告)号
CN1953019A
申请日
2005-10-18
公开(公告)日
2007-04-25
当前申请(专利权)人
电子科技大学
发明人
王涛 | 蒋亚东 | 吕坚
简单同族
CN100399394C | CN1953019A
简单同族成员数量
2
简单同族被引用专利总数
0
诉讼案件数
0
法律状态/事件
未缴年费
抱歉,您的浏览器不支持PDF预览,请点击链接下载PDF文件