专利数据库
统计分析
产业报告
专利数据监控
产业人才
行业动态
产业政策法规
维权援助
个人中心
详情
文本
图像
标题
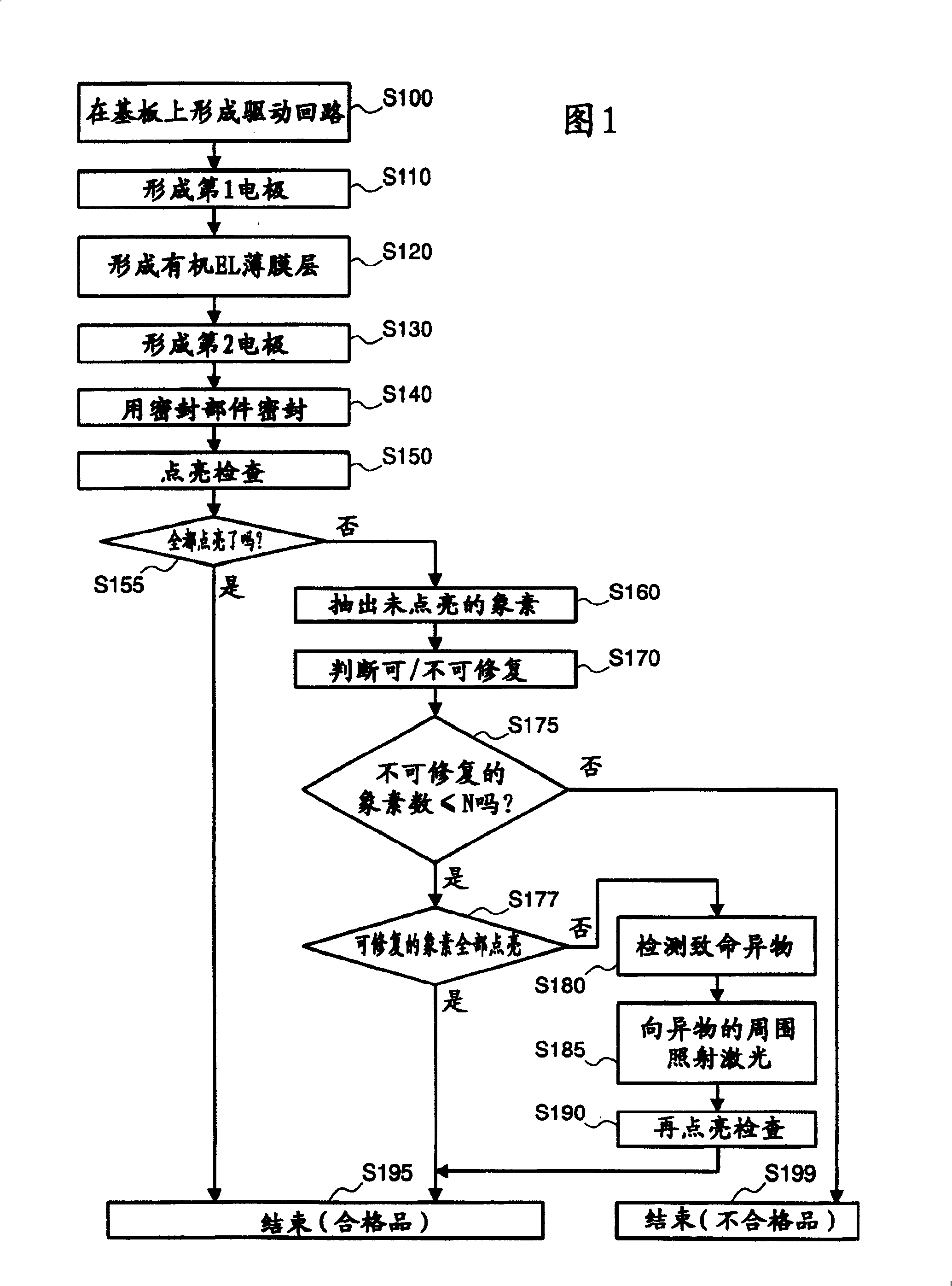
有机电致发光显示装置的制造方法
授权日
2008-10-22
公开(公告)号
CN100428530C
申请日
2004-08-20
公开(公告)日
2008-10-22
当前申请(专利权)人
三星显示有限公司
发明人
田村太久夫 | 本乡幹雄 | 奥中正昭 | 加藤真一 | 松崎永二 | 伊藤雅人 | 寺门正伦
简单同族
CN100428530C | CN1674726A | JP2005276600A | US20050215163A1 | US7258586
简单同族成员数量
5
简单同族被引用专利总数
90
诉讼案件数
0
法律状态/事件
授权 | 许可 | 权利转移
抱歉,您的浏览器不支持PDF预览,请点击链接下载PDF文件