专利数据库
统计分析
产业报告
专利数据监控
产业人才
行业动态
产业政策法规
维权援助
个人中心
详情
文本
图像
标题
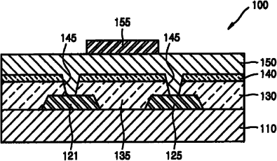
有机薄膜晶体管及其制造方法及平板显示器
授权日
1900-01-01
公开(公告)号
CN1874023A
申请日
2006-05-24
公开(公告)日
2006-12-06
当前申请(专利权)人
三星显示有限公司
发明人
安泽 | 徐旼彻 | 牟然坤
简单同族
CN1874023A | CN1874023B | DE602006008527D1 | EP1727206A1 | EP1727206B1 | JP2006332661A | JP4879652B2 | KR100647693B1 | US20060267094A1 | US20090170291A1 | US7495252 | US7919396
简单同族成员数量
12
简单同族被引用专利总数
49
诉讼案件数
0
法律状态/事件
授权 | 权利转移
抱歉,您的浏览器不支持PDF预览,请点击链接下载PDF文件