专利数据库
统计分析
产业报告
专利数据监控
产业人才
行业动态
产业政策法规
维权援助
个人中心
详情
文本
图像
标题
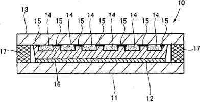
有机电致发光面板及其制造方法
授权日
1900-01-01
公开(公告)号
CN1575048A
申请日
2004-05-20
公开(公告)日
2005-02-02
当前申请(专利权)人
日本东北先锋公司
发明人
免田芳生 | 木村政美
简单同族
CN1575048A | JP2005011794A | KR1020040100915A | TW200427357A | US20040232833A1 | US20060128252A1
简单同族成员数量
6
简单同族被引用专利总数
81
诉讼案件数
0
法律状态/事件
撤回
抱歉,您的浏览器不支持PDF预览,请点击链接下载PDF文件