专利数据库
统计分析
产业报告
专利数据监控
产业人才
行业动态
产业政策法规
维权援助
个人中心
详情
文本
图像
标题
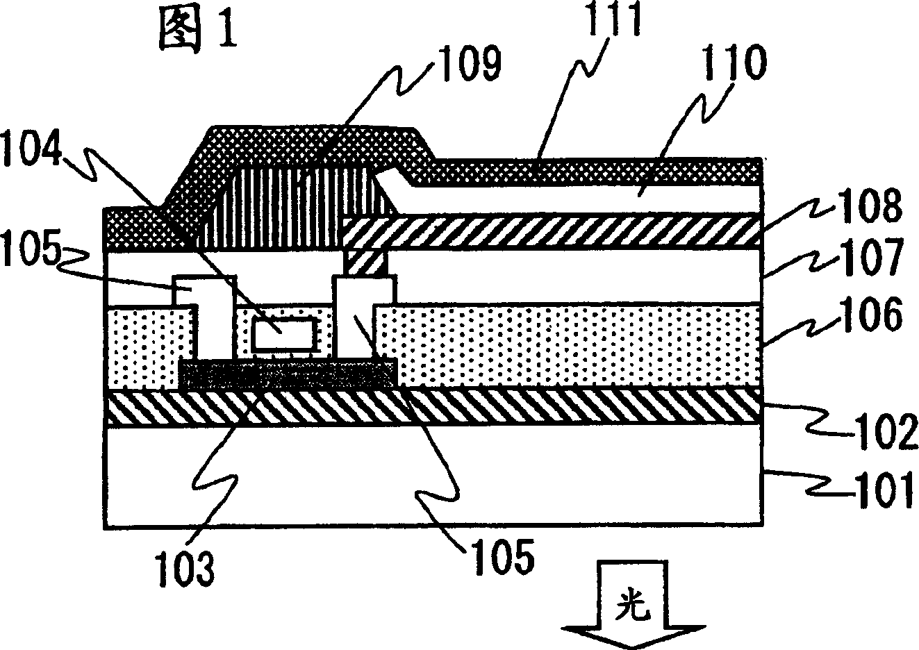
有机电致发光显示装置及其制造方法
授权日
1900-01-01
公开(公告)号
CN1645977A
申请日
2004-08-06
公开(公告)日
2005-07-27
当前申请(专利权)人
三星显示有限公司
发明人
田中顺 | 尾形洁 | 足立昌哉 | 大谷美晴
简单同族
CN100433399C | CN1645977A | KR100627741B1 | KR1020050076581A | TW200526073A | TWI238675B | US20050156520A1 | US20070262708A1 | US7301274 | US7830082
简单同族成员数量
10
简单同族被引用专利总数
92
诉讼案件数
0
法律状态/事件
授权 | 许可 | 权利转移
抱歉,您的浏览器不支持PDF预览,请点击链接下载PDF文件