专利数据库
统计分析
产业报告
专利数据监控
产业人才
行业动态
产业政策法规
维权援助
个人中心
详情
文本
图像
标题
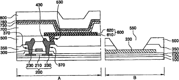
有机发光显示器及其制造方法
授权日
2009-07-08
公开(公告)号
CN100511755C
申请日
2004-11-24
公开(公告)日
2009-07-08
当前申请(专利权)人
三星显示有限公司
发明人
李宽熙 | 郭源奎
简单同族
CN100511755C | CN101299895A | CN101299895B | CN1622715A | KR100579184B1 | KR1020050049999A | US20050110023A1 | US7247881
简单同族成员数量
8
简单同族被引用专利总数
142
诉讼案件数
0
法律状态/事件
授权 | 权利转移
抱歉,您的浏览器不支持PDF预览,请点击链接下载PDF文件