专利数据库
统计分析
产业报告
专利数据监控
产业人才
行业动态
产业政策法规
维权援助
个人中心
详情
文本
图像
标题
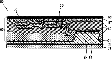
基底制作方法、用该方法制作有机电致发光显示器件的方法和该器件
授权日
1900-01-01
公开(公告)号
CN1509125A
申请日
2003-12-12
公开(公告)日
2004-06-30
当前申请(专利权)人
三星显示有限公司
发明人
朴镇宇 | 郑昊均 | 宋承龙
简单同族
CN100431164C | CN100585870C | CN101197391A | CN1509125A | KR100484109B1 | KR1020040053495A | US20040115852A1 | US20060163565A1 | US7049161 | US7307281
简单同族成员数量
10
简单同族被引用专利总数
54
诉讼案件数
0
法律状态/事件
授权 | 权利转移
抱歉,您的浏览器不支持PDF预览,请点击链接下载PDF文件