专利数据库
统计分析
产业报告
专利数据监控
产业人才
行业动态
产业政策法规
维权援助
个人中心
详情
文本
图像
标题
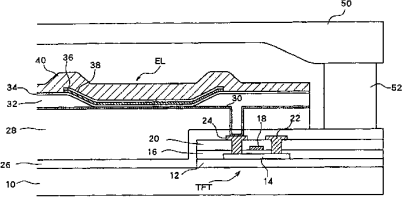
有机电致发光显示装置
授权日
1900-01-01
公开(公告)号
CN1481203A
申请日
2003-07-24
公开(公告)日
2004-03-10
当前申请(专利权)人
三洋电机株式会社
发明人
米田清 | 西川龙司 | 铃木浩司 | 市川伸治
简单同族
CN1481203A | KR100535855B1 | KR1020040010367A | TW200402157A | TWI224880B | US20040066136A1 | US6850005
简单同族成员数量
7
简单同族被引用专利总数
62
诉讼案件数
0
法律状态/事件
撤回
抱歉,您的浏览器不支持PDF预览,请点击链接下载PDF文件