专利数据库
统计分析
产业报告
专利数据监控
产业人才
行业动态
产业政策法规
维权援助
个人中心
详情
文本
图像
标题
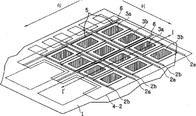
有机电致发光显示板
授权日
2005-06-22
公开(公告)号
CN1207942C
申请日
2002-08-21
公开(公告)日
2005-06-22
当前申请(专利权)人
英迪股份有限公司
发明人
金昌男
简单同族
CN1207942C | CN1416302A | EP1286397A2 | EP1286397A3 | JP2003077685A | JP2008071770A | JP4287104B2 | JP4931783B2 | KR100404204B1 | KR1020030017696A | US20030038591A1 | US6930448
简单同族成员数量
12
简单同族被引用专利总数
64
诉讼案件数
0
法律状态/事件
未缴年费 | 权利转移
抱歉,您的浏览器不支持PDF预览,请点击链接下载PDF文件