专利数据库
统计分析
产业报告
专利数据监控
产业人才
行业动态
产业政策法规
维权援助
个人中心
详情
文本
图像
标题
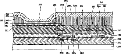
有机电致发光显示装置
授权日
1900-01-01
公开(公告)号
CN1592518A
申请日
2004-08-25
公开(公告)日
2005-03-09
当前申请(专利权)人
三星移动显示器株式会社
发明人
李宪贞 | 具在本 | 朴商一
简单同族
CN102751311A | CN1592518A | JP2005070741A | JP3990374B2 | KR100560782B1 | KR1020050021718A | US20050057460A1 | US8130174
简单同族成员数量
8
简单同族被引用专利总数
52
诉讼案件数
0
法律状态/事件
驳回 | 复审 | 权利转移
抱歉,您的浏览器不支持PDF预览,请点击链接下载PDF文件