专利数据库
统计分析
产业报告
专利数据监控
产业人才
行业动态
产业政策法规
维权援助
个人中心
详情
文本
图像
标题
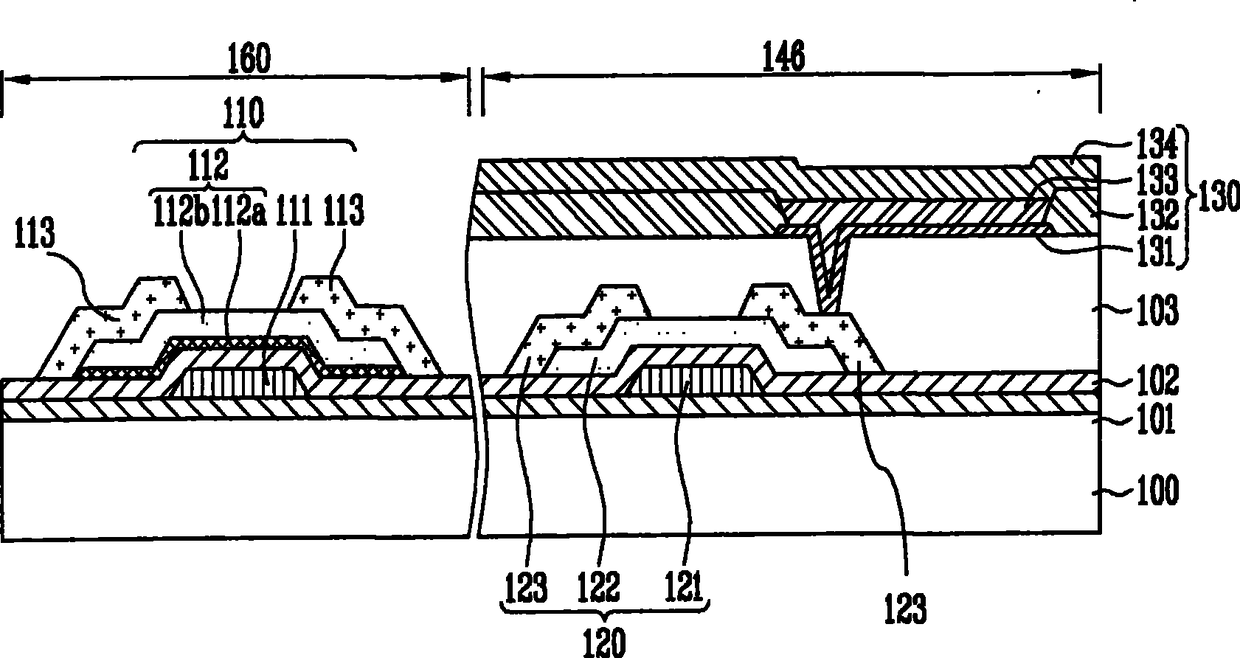
有机发光显示装置及其制造方法
授权日
2012-11-28
公开(公告)号
CN101794809B
申请日
2010-01-11
公开(公告)日
2012-11-28
当前申请(专利权)人
三星显示有限公司
发明人
朴镇成 | 牟然坤 | 郑现中 | 郑在景 | 金民圭 | 安泰琼
简单同族
AT523898T | CN101794809A | CN101794809B | EP2207206A1 | EP2207206B1 | JP2010161327A | JP5274327B2 | KR101034686B1 | KR1020100082940A | TW201030967A | TWI423436B | US20100176383A1 | US8436342
简单同族成员数量
13
简单同族被引用专利总数
130
诉讼案件数
0
法律状态/事件
授权
抱歉,您的浏览器不支持PDF预览,请点击链接下载PDF文件