专利数据库
统计分析
产业报告
专利数据监控
产业人才
行业动态
产业政策法规
维权援助
个人中心
详情
文本
图像
标题
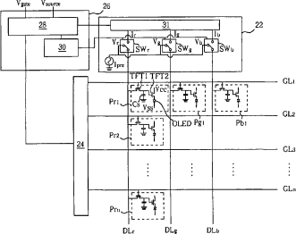
主动式矩阵有机发光二极管显示器
授权日
1900-01-01
公开(公告)号
CN101221729A
申请日
2006-01-24
公开(公告)日
2008-07-16
当前申请(专利权)人
友达光电股份有限公司
发明人
李易书
简单同族
CN101221729A | CN101221729B
简单同族成员数量
2
简单同族被引用专利总数
0
诉讼案件数
0
法律状态/事件
授权
抱歉,您的浏览器不支持PDF预览,请点击链接下载PDF文件