专利数据库
统计分析
产业报告
专利数据监控
产业人才
行业动态
产业政策法规
维权援助
个人中心
详情
文本
图像
标题
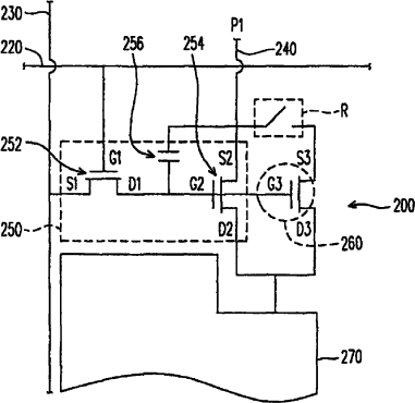
像素结构、有机电致发光显示单元及其修补方法
授权日
2009-06-17
公开(公告)号
CN100502606C
申请日
2006-01-23
公开(公告)日
2009-06-17
当前申请(专利权)人
友达光电股份有限公司
发明人
姚智文 | 李信宏
简单同族
CN100502606C | CN1822734A
简单同族成员数量
2
简单同族被引用专利总数
0
诉讼案件数
0
法律状态/事件
授权
抱歉,您的浏览器不支持PDF预览,请点击链接下载PDF文件