专利数据库
统计分析
产业报告
专利数据监控
产业人才
行业动态
产业政策法规
维权援助
个人中心
详情
文本
图像
标题
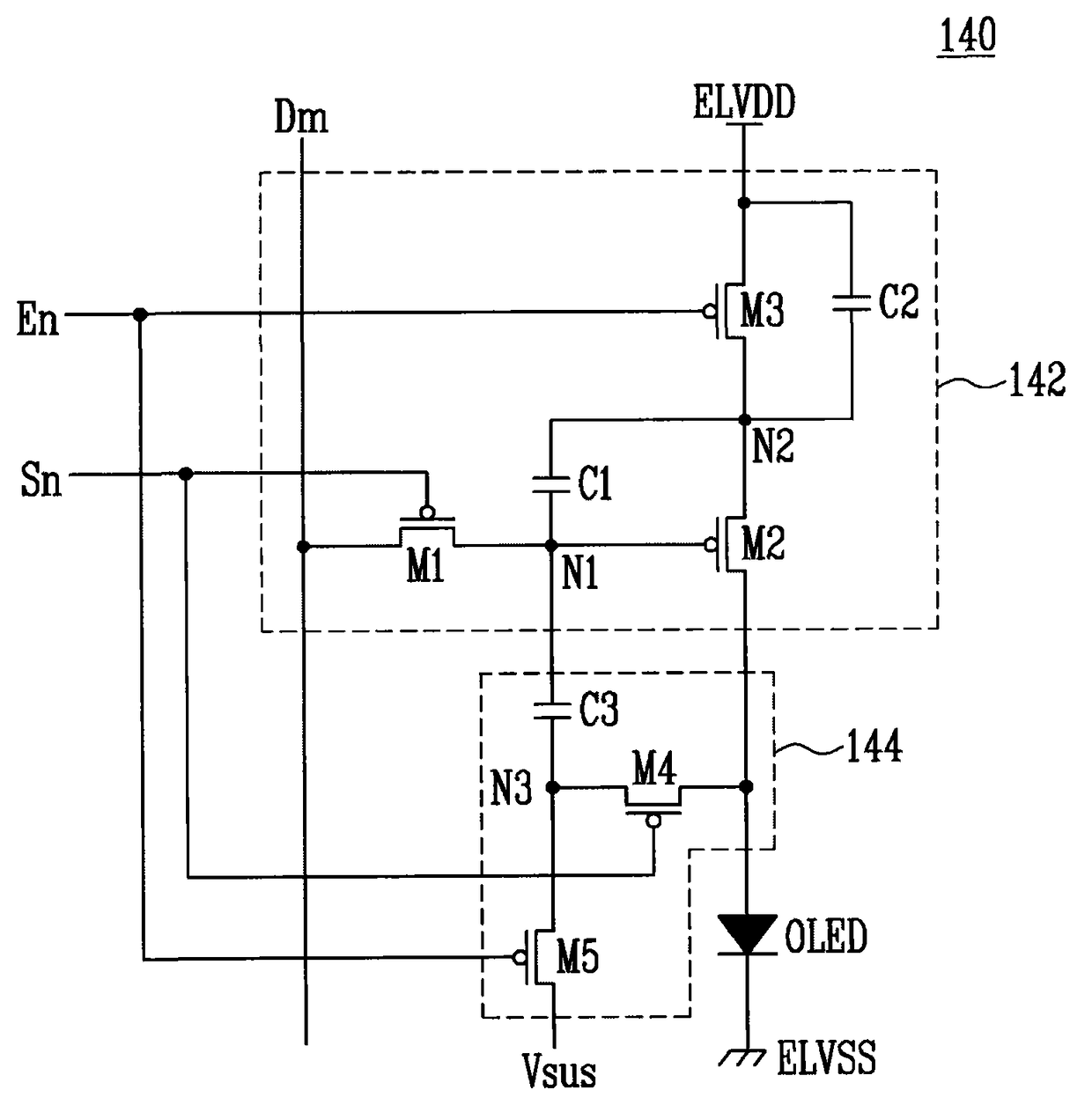
像素和使用该像素的有机发光显示装置
授权日
2012-02-29
公开(公告)号
CN101609839B
申请日
2009-06-16
公开(公告)日
2012-02-29
当前申请(专利权)人
三星显示有限公司
发明人
金阳完
简单同族
CN101609839A | CN101609839B | EP2136352A1 | EP2136352B1 | JP2009301004A | JP5190386B2 | KR100962961B1 | KR1020090131042A | US20090309516A1 | US8049701
简单同族成员数量
10
简单同族被引用专利总数
80
诉讼案件数
0
法律状态/事件
授权 | 权利转移
抱歉,您的浏览器不支持PDF预览,请点击链接下载PDF文件