专利数据库
统计分析
产业报告
专利数据监控
产业人才
行业动态
产业政策法规
维权援助
个人中心
详情
文本
图像
标题
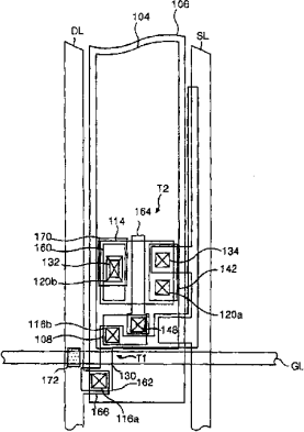
有机电致发光显示器及其制造方法
授权日
1900-01-01
公开(公告)号
CN1638548A
申请日
2004-05-26
公开(公告)日
2005-07-13
当前申请(专利权)人
乐金显示有限公司
发明人
朴在用
简单同族
CN100530673C | CN1638548A | JP2005197203A | KR100621865B1 | KR1020050070199A | TW200522769A | TWI235014B | US20050140281A1 | US7221091
简单同族成员数量
9
简单同族被引用专利总数
48
诉讼案件数
0
法律状态/事件
授权
抱歉,您的浏览器不支持PDF预览,请点击链接下载PDF文件