专利数据库
统计分析
产业报告
专利数据监控
产业人才
行业动态
产业政策法规
维权援助
个人中心
详情
文本
图像
标题
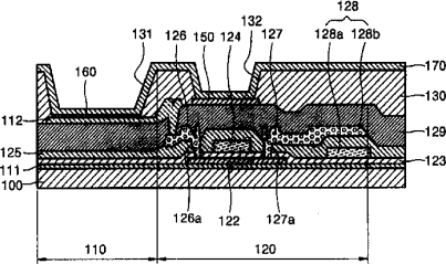
有机电致发光显示器及其制造方法
授权日
1900-01-01
公开(公告)号
CN1496202A
申请日
2003-09-19
公开(公告)日
2004-05-12
当前申请(专利权)人
三星显示有限公司
发明人
具在本 | 朴商一
简单同族
CN100377383C | CN1496202A | JP2004111369A | KR1020040025383A | US20040056591A1 | US20050194890A1 | US20060019573A1 | US6917160 | US7034455 | US7507609
简单同族成员数量
10
简单同族被引用专利总数
88
诉讼案件数
0
法律状态/事件
授权 | 权利转移
抱歉,您的浏览器不支持PDF预览,请点击链接下载PDF文件