专利数据库
统计分析
产业报告
专利数据监控
产业人才
行业动态
产业政策法规
维权援助
个人中心
详情
文本
图像
标题
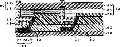
有机电致发光显示装置及其驱动方法
授权日
2008-12-03
公开(公告)号
CN100440529C
申请日
2002-07-08
公开(公告)日
2008-12-03
当前申请(专利权)人
出光兴产株式会社
发明人
松浦正英 | 细川地潮
简单同族
CN100440529C | CN1541502A | EP1434469A1 | EP1434469A4 | JP2010161385A | JP4613007B2 | JPWO2003017730A1 | KR100841850B1 | KR1020040025743A | TW549007B | US20040169622A1 | US20060119279A1 | US20110205255A1 | US20130200346A1 | US20140138664A1 | US7034339 | US7956828 | US8471789 | US8654043 | US8902136 | WO2003017730A1
简单同族成员数量
21
简单同族被引用专利总数
67
诉讼案件数
0
法律状态/事件
授权
抱歉,您的浏览器不支持PDF预览,请点击链接下载PDF文件