专利数据库
统计分析
产业报告
专利数据监控
产业人才
行业动态
产业政策法规
维权援助
个人中心
详情
文本
图像
标题
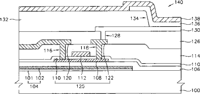
有源矩阵型有机电致发光显示器及其制造方法
授权日
1900-01-01
公开(公告)号
CN1440224A
申请日
2003-02-20
公开(公告)日
2003-09-03
当前申请(专利权)人
三星显示有限公司
发明人
崔凡洛 | 崔埈厚
简单同族
CN100568522C | CN1440224A | JP2003249370A | KR100845557B1 | KR1020030069434A | TW200304100A | TWI271113B | US20030155860A1
简单同族成员数量
8
简单同族被引用专利总数
117
诉讼案件数
0
法律状态/事件
授权 | 权利转移
抱歉,您的浏览器不支持PDF预览,请点击链接下载PDF文件