专利数据库
统计分析
产业报告
专利数据监控
产业人才
行业动态
产业政策法规
维权援助
个人中心
详情
文本
图像
标题
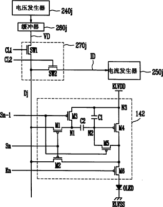
像素和采用该像素的有机发光显示器
授权日
1900-01-01
公开(公告)号
CN1835059A
申请日
2006-03-16
公开(公告)日
2006-09-20
当前申请(专利权)人
三星显示有限公司 | 汉阳大学校产业协力团
发明人
崔相武 | 权五敬
简单同族
CN100555383C | CN1835059A | JP2006268000A | JP4384103B2 | KR100707623B1 | KR1020060101103A | US20060232678A1 | US7843442
简单同族成员数量
8
简单同族被引用专利总数
51
诉讼案件数
0
法律状态/事件
授权 | 权利转移
抱歉,您的浏览器不支持PDF预览,请点击链接下载PDF文件