专利数据库
统计分析
产业报告
专利数据监控
产业人才
行业动态
产业政策法规
维权援助
个人中心
详情
文本
图像
标题
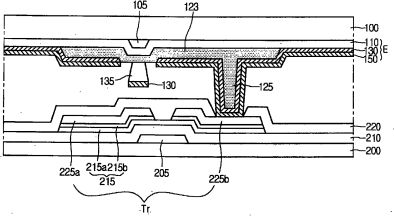
有机电致发光显示器件及其制造方法
授权日
2009-07-15
公开(公告)号
CN100514669C
申请日
2006-11-16
公开(公告)日
2009-07-15
当前申请(专利权)人
乐金显示有限公司
发明人
朴锺佑
简单同族
CN100514669C | CN1983622A | KR101157262B1 | KR1020070063131A | US20070132374A1 | US20100320469A1 | US7786669 | US8362687
简单同族成员数量
8
简单同族被引用专利总数
66
诉讼案件数
0
法律状态/事件
授权
抱歉,您的浏览器不支持PDF预览,请点击链接下载PDF文件