专利数据库
统计分析
产业报告
专利数据监控
产业人才
行业动态
产业政策法规
维权援助
个人中心
详情
文本
图像
标题
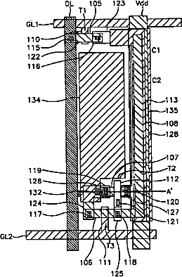
有源矩阵型有机电致发光显示装置及其制造方法
授权日
2008-04-16
公开(公告)号
CN100382132C
申请日
2002-12-10
公开(公告)日
2008-04-16
当前申请(专利权)人
三星显示有限公司
发明人
崔凡洛 | 崔埈厚 | 蔡钟哲
简单同族
AU2002367689A1 | AU2002367689A8 | CN100382132C | CN1636235A | DE10297655B4 | DE10297655T5 | JP2005518557A | JP3999205B2 | KR100892945B1 | KR1020030069668A | US20050104814A1 | US20090009094A1 | US7435992 | US7875889 | WO2003071511A2 | WO2003071511A3
简单同族成员数量
16
简单同族被引用专利总数
172
诉讼案件数
0
法律状态/事件
授权 | 权利转移
抱歉,您的浏览器不支持PDF预览,请点击链接下载PDF文件