专利数据库
统计分析
产业报告
专利数据监控
产业人才
行业动态
产业政策法规
维权援助
个人中心
详情
文本
图像
标题
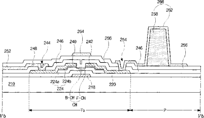
双面板型有机电致发光显示器件及其制造方法
授权日
1900-01-01
公开(公告)号
CN1638569A
申请日
2004-12-27
公开(公告)日
2005-07-13
当前申请(专利权)人
乐金显示有限公司
发明人
朴宰用
简单同族
CN100403576C | CN1638569A | KR100557730B1 | KR1020050066630A | US20050140308A1 | US7164230
简单同族成员数量
6
简单同族被引用专利总数
62
诉讼案件数
0
法律状态/事件
授权
抱歉,您的浏览器不支持PDF预览,请点击链接下载PDF文件