专利数据库
统计分析
产业报告
专利数据监控
产业人才
行业动态
产业政策法规
维权援助
个人中心
详情
文本
图像
标题
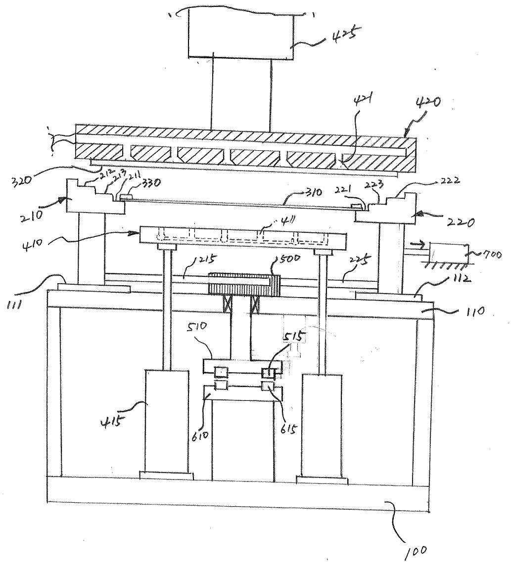
발명의 명칭 자동 얼라인이 가능한 평판 디스플레이 조립장치
授权日
2016-09-29
公开(公告)号
KR101663049B1
申请日
2015-03-31
公开(公告)日
2016-10-06
当前申请(专利权)人
주식회사 중앙정밀
发明人
심태선
简单同族
KR101663049B1
简单同族成员数量
1
简单同族被引用专利总数
0
诉讼案件数
0
法律状态/事件
授权
抱歉,您的浏览器不支持PDF预览,请点击链接下载PDF文件